168飞艇开奖官网开奖记录查询结果

天信仪表电话0517-86908060
全部类别
标准孔板流量计
发布时间:2021-06-09 10:43来源:字体:
一、标准孔板流量计概述
标准孔板流量计是无刻度的流量测量装置,标准孔板流量计与气动、电动差压变送器或双波纹管差压变送器配套使用。在冶金、化工、石油、电力工业系统连续测量介质温度≤400℃的液体、气体、蒸汽流经孔板所产生的压差,经变送器将该压差讯号转换成比例的输出信号,再有二次仪表或调节器,对被测量流量进行记录,指示或调节。
二、标准孔板流量计原理
在管道内部装上孔板或喷咀等节流件,由于节流件的孔径小于管道内径,当流体流经节流件时,流束截面突然收缩,流速加快。流量计后端流体的静压力降低,于是在节流件前后产生产生静压力差。用差压变送器(或差压计)测量节流件前后的差压,实现对流量的测量。

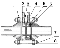
三、标准孔板流量计结构

标准环室孔板节流装置结构示图(Pg≤25)
1、法兰                      2、导管
3、前环室                    4、节流件
5、后环室                    6、垫
7、螺栓                      8、螺母

标准法兰孔板节流装置示意图(Pg≥64)          
1、取压法兰 2、孔板   3、导压管  
4、密封垫   5、螺母   6、螺栓 返回
标签:标准孔板流量计,孔板流量计
168飞艇开奖官网开奖记录查询结果