168飞艇开奖官网开奖记录查询结果

天信仪表电话0517-86908060
全部类别
UPVC材质涡轮流量计
发布时间:2021-04-12 11:26来源:字体:
一、UPVC材质涡轮流量计概述
1、应用场合
塑料涡轮流量计是一种精密流量测量仪表,测量无杂质、无腐蚀液体的流量和总量。它被广  泛用于石油、化工、冶金、科研等领域。
2、工作原理
当被测液体流过传感器时,在流体作用下,叶轮受力旋转,其转速与管道平均流速成正比。叶轮的转动周期地改变磁回路的磁阻值,检测线圈中的磁通随之发生周期性变化,产   生频率与叶片旋转频率相同的感应电动势,经放大后,进行转换和处理。
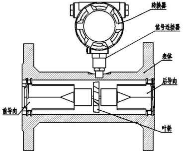
3、产品结构
塑料涡轮流量计主要由表体、前导向、后导向、叶轮、信号连接器和转换器等组成。

二、UPVC材质涡轮流量计特点
1、高精确度,一般可达±1%R、±0.5%R,高精度型可达±0.2%R;(R指读数误差)
2、重复性好,短期重复性可达0.05%~0.2%,正是由于良好的重复性,如经常校准或在线校准可得到极高的精确度,在贸易结算中是优先选用的流量计;
3、输出脉冲频率信号,适于总量计量及与计算机连接,无零点漂移,抗干扰能力强;
4、原始脉冲频率范围(10Hz~1.5KHz),信号分辨力强;
5、量程比宽,10:1~20:1;
6、结构紧凑轻巧,安装维护方便,流通能力大;
7、适用高压测量,仪表表体上不必开孔,易制成高压型仪表;专用型传感器类型多,可根据用户特殊需要设计为各类专用型传感器,例如低温型﹑双向型﹑井下型﹑混砂专用型等;
8、可制成插入型,适用于大口径测量,压力损失小,价格低,可不断流取出,安装维护方便。
三、UPVC材质涡轮流量计技术规格
返回
标签:防腐涡轮流量计,塑料材质涡轮流量计,UPVC材质涡轮流量计
168飞艇开奖官网开奖记录查询结果