法兰连接型涡街流量计
发布时间:2020-06-22 18:15来源:字体: 大 中 小
一、法兰连接型涡街流量计概述
1、应用场合
法兰连接型涡街流量计是速度式流量计的一种,广泛应用于石油、化工、电力、轻 工、动力供热等行业。
2、工作原理
法兰连接型涡街流量计是由旋涡发生体、检测探头及相应的电子线路等组成。当流体流经 旋涡发生体时,它的两侧就形成了交替变化的两排旋涡,这种旋涡被称为卡门旋 涡。斯特罗哈在卡门涡街理论的基础上又提出了卡门涡街的频率与流体的流速成正 比,并给出了频率与流速的关系式:
f = St x V/d
式中:f:涡街发生频率(Hz)
V:旋涡发生体两侧的平均流速(m/s)
St:斯特罗哈尔系数(一定雷诺数范围内为常数)
d:旋涡发生体避流面宽度(m)

这些交替变化的旋涡就形成了一系列交替变化的流体升力,该升力作用在基于压 电效应的检测探头上,便产生一系列交变电荷信号,经过前置放大器转换、整形、 放大处理后,输出与旋涡脱落频率相同且与流速成正比的脉冲信号。
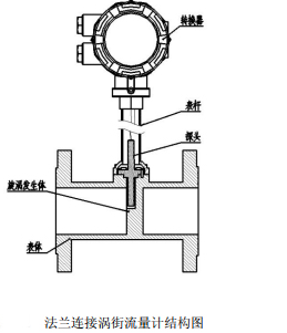
3、产品结构
法兰连接型涡街流量计的基本结构主要是由表体、探头、旋涡发生体、表杆和转换器等组成。
二、法兰连接型涡街流量计产品类型
1、脉冲输出型

2、数字智能型
三、法兰连接型涡街流量计尺寸
四、选型型谱
返回
标签:法兰涡街流量计,法兰连接型涡街流量计,涡街流量计